青岛市妇女儿童医院口腔颌面外科科研试剂耗材(一)采购项目采购公告
发布时间:2025/10/16 16:32:03 / 【关闭】
根据《青岛市妇女儿童医院招标采购管理办法》、《物资采购管理制度》等相关制度为其所需的青岛市妇女儿童医院口腔颌面外科科研试剂耗材(一)采购项目 组织采购活动,特邀请有相应资质和具有相应供货能力的供应商根据采购要求参加本次采购活动,并提供满足要求的货物。
1、项目名称:青岛市妇女儿童医院口腔颌面外科科研试剂耗材(一)采购项目
2、项目编号:FECG20250137
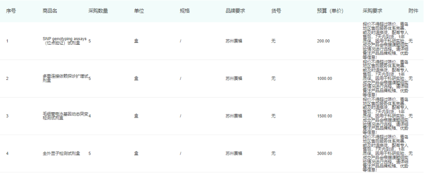
3、项目内容:
供货期:7个工作日,质保期:1年
4、采购预算:详见订单
5、采购方式
本项目发布平台为:锐竞科研采购平台,请报名供应商根据附件操作手册进行报价。
竞价单号:J20251015029946
6、竞价期限
2025年10月16日-2025年10月18日
7、联系方式
采 购 人:青岛市妇女儿童医院
地 址:青岛市辽阳西路217号
项目联系人:朱老师
电 话:0532-68661101
邮 箱:qdfezbbcg@163.com
锐竞科研采购平台技术支持:杨工15165130753

